
MIL-DTL-16036M(SH)
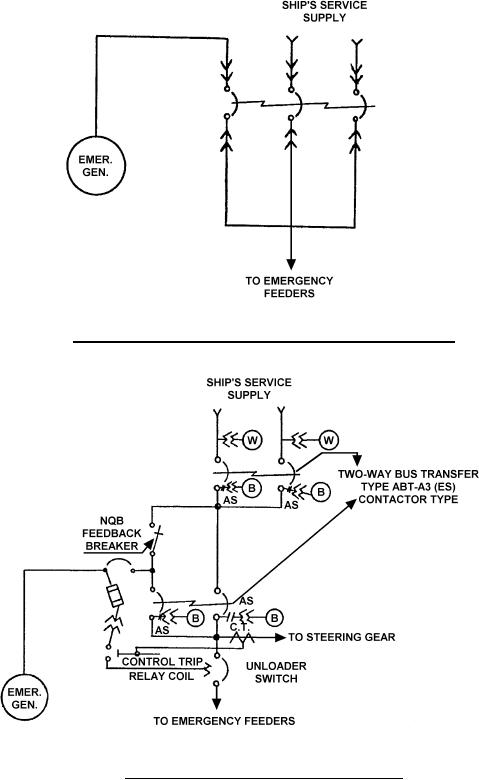
FIGURE 5. Three-way bus transfer type ABT-A3 (ES), circuit breaker type.
FIGURE 6. One-line diagram of emergency power system.
65
For Parts Inquires submit RFQ to Parts Hangar, Inc.
© Copyright 2015 Integrated Publishing, Inc.
A Service Disabled Veteran Owned Small Business